Штангенциркуль канавочный ШЦЦ-ВК
Штангенциркули канавочные ШЦЦ-ВК, для измерения внутренних канавок, производства КНР.
Штангенциркули канавочные ШЦЦ-ВК предназначены для измерения диаметра внутренних канавок и проточек в отверстиях и для измерения наружных размеров.
Штангенциркули ШЦЦ-ВК для внутренних канавок обладают всеми достоинствами цифровых штангенциркулей - простотой в использовании и наибольшим удобством считывания результатов измерений.
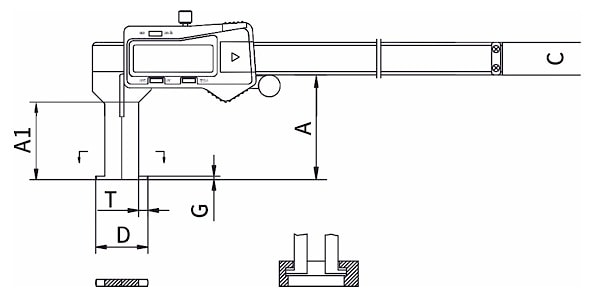
Специальная форма губок штангенциркуля для внутренних канавок позволяет производить замеры не только наружных размеров, так же как и обычным штангенциркулем, но и внутренних размеров канавок.
С помощью этого штангенциркуля можно измерить глубину внутреннего паза или внутренний диаметр канавки в отверстии, например, внутренний диаметр канавки уплотнительного кольца в цилиндре.
Внесены в Реестр СИ РБ
| Диапазон измерений, мм | Цена деления, мм | А, мм | А1, мм | D, мм | Т, мм | G, мм | С, мм | Погрешность измерения, мм |
| 20-170 | 0.01 | 40 | 25 | 20 | 3 | 1 | 16 | ± 0.04 |
| 25-225 | 0.01 | 50 | 35 | 25 | 4 | 1 | 16 | ± 0.04 |
| 30-330 | 0.01 | 60 | 45 | 30 | 5 | 1,5 | 17 | ± 0.05 |

производитель
ATLAS

